
2025-12-02
В сфере измерения промышленных процессов расходомеры служат ключевыми инструментами для «измерения пульса». Среди них кориолисовые массовые расходомеры (обычно называемые кориолисовыми расходомерами) стали незаменимыми инструментами во многих отраслях промышленности благодаря своим возможностям прямого и высокоточного измерения.
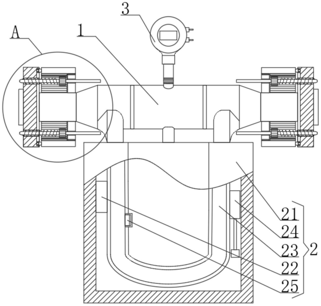
Основной принцип работы кориолисовых расходомеров основан на классическом эффекте Кориолиса. Они включают в себя вибрирующие измерительные трубки в форме U-образных или Ω-образных изгибов. Когда жидкость протекает через эти трубки, которые непрерывно вибрируют под действием приводных катушек, возникает незаметное небольшое скручивание. Величина этого скручивания прямо пропорциональна массовому расходу жидкости, проходящей через трубу. Точно определяя это скручивание с помощью датчиков, можно непосредственно рассчитать массовый расход.
Его превосходство заключается в достижении действительно прямого измерения массового расхода, что устраняет необходимость в расчетах компенсации температуры, давления и плотности, требуемых традиционными расходомерами. Это не только упрощает архитектуру системы, но и повышает точность измерений до беспрецедентного уровня. Кроме того, он может одновременно выводить значения плотности и температуры жидкости при измерении массового расхода, что позволяет «объединить несколько функций в одном приборе».
В результате кориолисовый расходомер отлично подходит для использования в сложных отраслях промышленности. Будь то в нефтяной и нефтехимической промышленности для расчетов по сделкам и контроля рецептур, в пищевой промышленности и производстве напитков для точного измерения дорогостоящих ингредиентов или в химических и фармацевтических процессах для обеспечения точных соотношений реакций, он обеспечивает стабильную и надежную поддержку данных. Это создает прочную технологическую основу для повышения эффективности производства, обеспечения качества продукции и справедливых торговых практик.
